ГОСУДАРСТВЕННЫЙ СТАНДАРТ СОЮЗА ССР
ЛАКИ КРЕМНИЙОРГАНИЧЕСКИЕ
ЭЛЕКТРОИЗОЛЯЦИОННЫЕ
ТЕХНИЧЕСКИЕ УСЛОВИЯ
ГОСТ 16508-70
ИЗДАТЕЛЬСТВО СТАНДАРТОВ
ГОСУДАРСТВЕННЫЙ СТАНДАРТ СОЮЗА ССР
|
ЛАКИ КРЕМНИЙОРГАНИЧЕСКИЕ ЭЛЕКТРОИЗОЛЯЦИОННЫЕ Технические условия Insulating silicone varnishes. Specifications |
ГОСТ 16508-70 |
Срок действия с 01.01.72
до 01.01.96
Настоящий стандарт распространяется на электроизоляционные кремнийорганические лаки класса нагревостойкости Н (ГОСТ 8865-87), представляющие собой растворы кремнийорганических полимеров, модифицированных или немодифицированных органическими соединениями, в органических растворителях.
Электроизоляционные кремнийорганические лаки предназначаются для изоляции электрических машин и аппаратов.
1. МАРКИ
1.1. Электроизоляционные кремнийорганические лаки должны изготовляться следующих марок:
КО-916 (бывший К-47) - для лакировки электротехнической стали;
КО-916А - для изготовления обмоточных проводов со стекловолокнистой изоляцией и теплостойких проводов и кабелей с защитной стекловолокнистой оболочкой;
КО-918 (бывший К-54) - для изготовления электроизоляционных покровных эмалей горячей сушки;
КО-921 (бывший К-55) - для пропитки стеклянной оплетки проводов и кабелей;
КО-922 (бывший К-56) - для изготовления гибких стеклослюдинитовых электроизоляционных материалов;
КО-926 (бывший К-41) - для изготовления слоистых пластиков;
КО-945 (бывший К-65) - для изготовления электроизоляционных покровных эмалей холодной сушки.
Выпуск кремнийорганических лаков новых марок допускается по техническим условиям, утвержденным в установленном порядке, в течение 2 лет (не более), после чего эти марки могут выпускаться только после включения их в настоящий стандарт.
(Измененная редакция, Изм. № 3, 4, 5).
2. ТЕХНИЧЕСКИЕ ТРЕБОВАНИЯ
2.1. (Исключен, Изм. № 4).
2.2. При изготовлении, испытании и применении электроизоляционных кремнийорганических лаков должны применяться растворители, разбавители, ускорители и отвердители, указанные в табл. 1, соответствующие требованиям нормативно-технической документации, утвержденной в установленном порядке: толуол (ГОСТ 14710-78), спирт бутиловый (ГОСТ 5208-81), этилцеллозольв (ГОСТ 8313-88), сиккатив НФ-1 или сиккатив ЖК-1 (ГОСТ 1003-73); полиэтиленполиамин - по техническим условиям, утвержденным в установленном порядке.
2.3. Лаки КО-918, КО-926, КО-945 должны поставляться в виде двух компонентов, указанных в табл. 2.
2.4. (Исключен, Изм. № 4).
2.5. Физико-химические и электрические показатели электроизоляционных кремнийорганических лаков должны соответствовать требованиям и нормам, указанным в табл. 3.
Таблица 1
| Компоненты | Марки лаков | ||||||
| КО-916 | КО-916А | КО-918 | КО-921 | КО-922 | КО-926 | КО-945 | |
| Растворители | Этилцеллозольв | Толуол | Толуол | Толуол | Толуол | Толуол | Толуол |
| Разбавители | Этилцеллозольв | Толуол | Толуол | Толуол | Толуол | Толуол | Толуол |
| Ускорители, отвердители | - | - | Сиккатив НФ-1 или сиккатив ЖК-1 | - | - | Сиккатив НФ-1 или сиккатив ЖК-1 | Полиэтиленполиамин |
(Измененная редакция, Изм. № 3, 4, 5).
Таблица 2
| Марки лаков | Ускорители и отвердители | Масса ускорителя или отвердителя, г на 100 г лака |
| КО-918 | Сиккатив НФ-1 или сиккатив ЖК-1 (20 %) | 7,00 |
| КО-926 | То же | 0,75 |
| КО-945 | Полиэтиленполиамин | 1,30 |
Примечания:
1. Ускорители или отвердители вводятся в лак при тщательном перемешивании непосредственно перед употреблением. Допускается уменьшать количество сиккатива ЖК-1 до 50 % для улучшения адгезии к подложке.
2. Время хранения лака с введенным ускорителем или отвердителем должно быть определено технологической инструкцией по применению лаков.
3. Лаки, применяемые не по основному назначению, могут поставляться потребителю некомплектно.
(Измененная редакция, Изм. № 4, 5).
Таблица 3
| Наименование показателя | Норма для марки | ||||||
|
КО-915 окп 23 1133 2300 |
КО-913А ОКП 23 1133 5200 |
КО-918 окп 21 1133 2500 |
КО-921 ОКП 23 1133 2700 |
КО-922 ОКП 24 1133 2800 |
КО-926 ОКП 23 1133 3000 |
КО-945 ОКП 23 1133 3400 |
|
| 1. Наличие механических включений в лаке | Отсутствие | ||||||
| 2. (Исключен, Изм. № 5). | |||||||
| 3. Внешний вид лака |
Оттенок не нормируется Однородный прозрачный раствор. Допускается легкая опалесценция |
||||||
| 4. Массовая доля нелетучих веществ, % | 67 ± 2 | 60 ± 2 | 65 ± 2 | 50 ± 2 | 50 ± 2 | 50 ± 2 | 70 ± 2 |
| 5. Вязкость по вискозиметру ВЗ-4, с | 45 - 65 | 30 - 60 | 72 - 125 | 17 - 27 | 17 - 27 | 14 - 22 | 93 - 160 |
| 6, Время высыхания лаковой пленки до степени 3, мин, не более | 15 | 15 | 90 | 15 | 60 | 25 | 24 ч |
| 7. Массовая доля водорода, связанного с кремнием, %, не более | 0,0018 | 0,0018 | 0,0012 | 0,0010 | 0,0010 | 0,0010 | 0,0010 |
| 8. Термоэластичность пленки лака, ч, не менее | 50 | 50 | 100 | 75 | 200 | - | 70 |
| 9. Маслостойкость пленки лака, Н (кгс), не менее | - | - | 49 (5) | - | - | - | 49 (5) |
| 10. Твердость пленки лака по маятниковому прибору МЭ-3 | |||||||
| при (20 ± 5) °С не менее | 0,5 | 0,6 | 0,5 | - | - | - | 0,45 |
| при (180 ± 2) °С не менее | 0,2 | 0,2 | 0,17 | - | - | - | 0,13 |
| типа ТМЛ | Не нормируется | - | - | - | - | Не нормируется | |
| 11. Продолжительность желатинизации, мин | - | - | - | - | - | 5 - 20 | - |
| 12. Удельное объемное электрическое сопротивление пленки лака, Ом·м, не менее: | |||||||
| М (15 - 35 °С) 45 - 75 % | 1 · 1012 | 1 · 1012 | 1 · 1012 | 1 · 1012 | 1 · 1012 | - | 1 · 1012 |
| М (180 °С) < 20 % | 1 · 1010 | - | 1 · 1010 | 1 · 1010 | 1 · 1010 | - | - |
| М (200 °С) < 20 % | - | 1 · 1010 | - | - | - | - | - |
| 24 ч (23 °С) 93 % | 1 · 1011 | 1 · 1011 | 1 · 1011 | 1 · 1011 | 1 · 1011 | - | 1 · 1011 |
| 13. Электрическая прочность пленки лака, МВ/м, не менее: | |||||||
| М (15 - 35 °С) 45 - 75 % | 70 | 70 | 60 | 70 | 70 | - | 60 |
| М (180 °С) < 20 % | 35 | - | 30 | 35 | 35. | - | - |
| М (200 °С) < 20 % | - | 35 | - | - | - | - | - |
| 24 ч (23 °С) 93 % | 40 | 40 | 35 | 35 | 35 | - | - |
| 14. Оптическая плотность лака не более | 0,6 | 0,5 | 0,6 | 0,5 | 0,5 | 0,8 | 1,5 |
Примечания:
1. (Исключен, Изм. № 4).
2. Для лака КО-926 допускается снижение нижнего предела продолжительности желатинизации до 3 мин к концу гарантийного срока хранения лака.
3. Показатель 10 для прибора типа ТМЛ не нормируется до 01.07.93. Определение обязательно с 01.01.92.
(Измененная редакция, Изм. № 3, 4, 5).
3а. Требования безопасности
3а.1. Лаки являются пожароопасными и токсичными, что обусловлено свойствами входящих в их состав растворителей толуола и этилцеллозольва, указанными в табл. 3а.
Таблица 3а
| Растворители | Предельно-допустимые концентрации в воздухе рабочей зоны производственных помещений, мг/м3 | Температура вспышки, | Температура самовоспламенения, °С | Концентрационные пределы воспламенения, % (по объему) | Класс опасности | |
| нижний | верхний | |||||
| Толуол | 50 | 4 | 536 | 1,25 | 6,5 | 3 |
| Этилцеллозольв | 10 | 40 - 46 | 235 | 1,8 | 15,7 | 4 |
Полимеризованные пленки лаков пожароопасности не представляют.
(Измененная редакция, Изм. № 5).
3а.2. Все работы, связанные с производством и применением лаков, должны проводиться в соответствии с требованиями правил пожарной безопасности и промышленной санитарии, в помещениях, снабженных приточно-вытяжной вентиляцией, в местах, обеспеченных местной вытяжной вентиляцией (ГОСТ 12.1.005-88 и ГОСТ 12.3.005-75).
Не допускается одновременное проведение в помещениях работ с применением открытого огня.
3а.3. Электроизоляционные лаки не способны к кумуляции.
При попадании лака на кожу его следует удалить сухим тампоном, затем протереть этиловым спиртом и промыть водой с мылом.
3а.4. Лица, связанные с изготовлением и применением лаков, должны быть обеспечены средствами индивидуальной защиты - по ГОСТ 12.4.001-80
3а.5. Средствами пожаротушения являются: песок, кошма, пенные установки.
Разд. 3а. (Введен дополнительно, Изм. № 4).
3. ПРАВИЛА ПРИЕМКИ
3.1. Правила приемки - по ГОСТ 9980.1-86, разд. 1.
(Измененная редакция, Изм. № 3, 4, 5).
3.2. Кремнийорганические лаки изготовитель должен подвергать приемосдаточным, периодическим и типовым испытаниям.
Приемосдаточные испытания проводят в соответствии с п. 1 - 6 табл. 3, п. 11 для лака КО-926, п. 13 для всех лаков, кроме лака КО-926. Испытания лака КО-945 проводят при температуре от 15 до 35 °С.
Периодические испытания лаков проводят по всем остальным показателям не реже одного раза в три месяца.
(Измененная редакция, Изм. № 3, 4, 5).
3.3 - 3.6. (Исключены, Изм. № 3).
4. МЕТОДЫ ИСПЫТАНИЙ
4.1. Подготовка образцов к испытанию
В лак КО-918 перед испытаниями по пп. 6, 8, 9, 10, 12, 13 табл. 3 вводят сиккатив НФ-1 или ЖК-1 в количестве, указанном в п. 2.3.
В лак КО-945 перед испытанием по пп. 6, 8, 9, 10, 12, 13 табл. 3 вводят полиэтиленполиамин по п. 2.3.
Лак КО-926 испытывают без отвердителя.
(Измененная редакция, Изм. № 3, 4, 5).
4.2. Наличие механических включений в лаке определяют по ГОСТ 20841.1-75 в цилиндре диаметром 25 - 30 мм.
(Измененная редакция, Изм. № 5).
4.3. Цвет лака определяют по ГОСТ 19266-79
4.4. Внешний вид лака определяют по ГОСТ 13526-79
Время выдержки лака в цилиндре 2 ч.
(Измененная редакция, Изм. № 4).
4.5. Массовую долю нелетучих веществ определяют по ГОСТ 17537-72
Время выдержки образцов в термостате при (20,0 ± 5) °С - 30 мин.
(Измененная редакция, Изм. № 3).
4.6. Вязкость лака определяют по ГОСТ 8420-74 вискозиметром типа ВЗ-246 (или ВЗ-4) с диаметром сопла 4 мм.
(Измененная редакция, Изм. № 4, 5).
4.7. Время высыхания пленки лака определяют по ГОСТ 19007-73 Подготовку пластин и нанесение лака проводят в соответствии с ГОСТ 13526-79. Металлические основания должны быть тщательно очищены от окислов, загрязнений шлифовальным порошком, промыты в бензине, уайт-спирите или толуоле и высушены. Метод нанесения лака на основание - двукратное окунание. Толщина пленки лака (50 ± 5) мк. Лак КС-916 перед нанесением на основание после разбавления этилцеллозольвом выдерживают 24 ч.
Время подсушки образцов при температуре от 15 до 35 °С - 15 - 20 мин.
Испытание на отлип лаков всех марок должно проводиться при температуре от 15 до 35 °С
Материал основания (подложки) и температура сушки лаков всех марок приведены в табл. 4.
Время высыхания лаков КО-926 и КО-928 определяют со следующими дополнениями и изменениями: стеклоткань размером 50×100 мм однократно пропитывают лаком с массовой долей нелетучих веществ, указанных в п. 4 табл. 3 при (20 ± 5) °С, выдерживают в подвешенном состоянии при той же температуре 15 мин и сушат в течение времени, указанного в п. 6 табл. 3, при температуре, приведенной в табл. 4. Высушенную стеклоткань перегибают поперек основы на 180°. Если при этом стеклоткань сломается в месте перегиба, испытание продолжают на образовавшихся сложенных половинках образца. Затем испытание производят по ГОСТ 13526-79 при этом масса груза для лака КО-926 должна быть 500 г. Лак считают удовлетворяющим требованиям настоящего стандарта, если поверхности образца не слипаются, пленка не сдирается после снятия давления, а фильтровальная бумага не прилипает к поверхности образца и не оставляет волокон. Для лака КО-926 допускается побеление и растрескивание лаковой пленки после снятия груза.
Таблица 4
| Марка лаков | Материал основания (подложки) | Температура сушки, °С |
| КО-926 | Ткань стеклянная марки Э2-80 толщиной 0,08 ± 0,01 мм (ГОСТ 19907-83) | 100 ± 2 |
| КО-945 | Фольга алюминиевая толщиной 0,1 мм (ГОСТ 618-73) | 20 ± 5 |
| КО-918 | 125 ±2 | |
|
КО-916, КО-916А КО-921 КО-922 |
Лента медная марки ЛММ толщиной 0,1 мм (ГОСТ 434-78), размером 60×150 мм | 200 ± 5 |
(Измененная редакция, Изм. № 3, 4, 5).
4.8. Определение массовой доли водорода, связанного с кремнием
4.8.1. Применяемые реактивы, растворы и приборы:
натрия гидроокись по ГОСТ 4328-77 или калия гидрат окиси (кали едкое), раствор спиртовой 2 моль/дм3;
спирт этиловый ректификованный (гидролизный) высшей очистки;
натрий хлористый по ГОСТ 4233-77 насыщенный раствор, подкисленный несколькими каплями серной кислоты и подкрашенный метилоранжем;
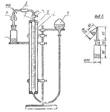
видоизмененный прибор Церевитинова-Чугаева (см. чертеж) с бюреткой вместимостью 25 см3, помещенный в кожух из органического стекла.
Прибор для определения содержания водорода, связанного с кремнием
1 - реакционная пробирка;
2 - боковой карман;
3 - вакуумный каучук;
4 - кран трехходовой;
5 - водяной кожух;
6 - бюретка;
7 - уравнительный сосуд.
4.8.2 Проведение испытания
5 - 6 г испытуемого лака, взвешенного с погрешностью не более 0,0002 г, помещают в реакционную пробирку. В боковой карман вливают 10 см3 раствора щелочи. Реакционную пробирку, содержащую навеску лака, присоединяют к трубке с боковым карманом, предварительно смазав шлив вакуумной смазкой. Далее поворачивают трехходовой кран так, чтобы бюретка и реакционная пробирка оказались соединенными с атмосферой, и перемещают уравнительный сосуд до тех пор, пока уровень насыщенного раствора хлористого натрия в бюретке будет совпадать с нулевым делением. Затем поворачивают кран так, чтобы реакционная пробирка и бюретка сообщались, а выход в атмосферу был закрыт, закрепляют уравнительный сосуд в положении ниже нулевого деления на 2 - 3 см3 и оставляют на 8 - 10 мин. По истечении 10 мин поднимают уравнительный сосуд и проверяют нулевое положение в бюретке. Если раствор в бюретке резко опустился, необходимо устранить негерметичность прибора. Если прибор герметичен, проводят анализ, для чего наклоняют реакционную пробирку и сливают в нее щелочь из бокового кармана. Пробирку энергично встряхивают до прекращения выделения пузырьков газа.
По окончании реакции пробирку оставляют на 20 мин для выравнивания температуры, после чего замеряют изменение объема в бюретке за счет выделившегося водорода и затем отмечают его изменения через каждые 5 мин, до получения трех одинаковых значений при замерах. Во время замеров объема уравнительный сосуд должен быть закреплен так, чтобы уровни жидкости в нем и бюретке строго совпадали. Затем фиксируют барометрическое давление и температуру в рубашке прибора.
Массовую долю водорода, связанного с кремнием, (Х1) в процентах вычисляют по формуле
где
0,00008987 - масса 1 см3 водорода при 0 °С и 101 кПа (760 мм рт. ст.);
2
- коэффициент пересчета на атомарный водород, выделяющийся при реакции лака с раствором щелочи;
т - масса лака, г;
V0 - объем выделившегося водорода при 0 °С и 101 кПа (760 мм рт. ст.), см3;
Vt - объем выделившегося водорода, замеренный при температуре и давлении испытания, см3;
Р - барометрическое давление во время испытания, кПа (мм рт. ст.);
P1 - давление паров воды над насыщенным раствором при температуре испытания, кПа (мм. рт. ст.);
t - температура во время испытания, °С.
Допускаемые расхождения между двумя параллельными определениями не должны превышать ±0,00015 %.
(Измененная редакция, Изм. № 4).
4.9. (Исключен, Изм. № 3).
4.10. Термоэластичность пленки лака определяют по ГОСТ 13526-79 Образцы для испытания изготавливают и сушат по п. 4.7, кроме образцов лака КО-922, которые изготавливают на алюминиевой фольге (ГОСТ 618-73). Температура в термостате для определения термоэластичности следующая:
для КО-916; КО-916А; КО-918; КО-921; КО-945 - (200 ± 5) °С;
для КО-922 - (250 ± 5) °С.
После выдержки образцов при температуре от 15 до 35 °С производят испытание по ГОСТ 6806-73 вокруг стержня диаметром 3 мм.
Допускается применение других термостатов (термостатирующих устройств), обеспечивающих заданную температуру.
(Измененная редакция, Изм. № 3, 4, 5).
4.11. Маслостойкость пленки лака определяют по ГОСТ 13526-79 в турбинном масле 30 (ГОСТ 32-74). Лак наносят на пластинки из стали (ГОСТ 5582) толщиной 0,8 - 2,0 мм. Образцы для испытания изготавливают и сушат по п. 4.7 с дополнительной сушкой при 130 °С для лака КО-918 в течение 12 ч и для лака КО-945 в течение 3 ч.
4.12. (Исключен, Изм. № 4).
4.13. Твердость лаковой пленки определяют по ГОСТ 5233-89 на приборе МЭ-3 и ТМЛ.
Лак наносят на стеклянную пластинку по ГОСТ 8832-76 наливом в два слоя. Пластинку с нанесенным первым слоем лака 15 - 20 мин выдерживают при (20 ± 2) °С, затем наносят второй слой лака и сушат по п. 4.7 с последующей дополнительной сушкой при (130 ± 2) °С в течение 12 ч для лака КО-918 и для лака КО-945 в течение 3 ч, а для лаков КО-916, КО-916А при (210 ± 5) °С в течение 1 ч.
Толщина пленки лака после сушки должна быть (0,05 ± 0,005) мм.
Перед определением твердости лаковой пленки при 180 °С образец предварительно 5 - 10 мин прогревают в приборе МЭ-3 при (180 ± 2) °С.
Шарики маятника после каждых 10 - 15 определений при температуре 180 °С выдерживают в толуоле для набухания пленки. Дальнейшая обработка шариков - по ГОСТ 5233-89
(Измененная редакция, Изм. № 5).
4.14. Продолжительность желатинизации определяют при (200 ± 2) °С на специальном приборе, состоящем из полимеризационной плитки, электронагревателей и системы автоматического контроля и регулирования температуры. Полимеризационная плитка прибора представляет собой диск диаметром 225 мм из нержавеющей стали с шестью гнездами диаметром 21 мм и глубиной 5 мм, равномерно расположенными по окружности диаметром 85 мм.
В центре диска имеется два специальных гнезда для установки контрольного термометра и датчика системы автоматического контроля и регулирования температуры.
(1,0 ± 0,1) г испытуемого лака помещают в гнездо нагретой полимеризационной плитки, включают секундомер и непрерывно перемешивают стеклянной палочкой диаметром 2 - 3 мм до образования геля. Время, прошедшее с момента помещения лака в гнездо полимеризационной плитки до момента образования геля (прекращения вытягивания нитей), принимают за продолжительность желатинизации. Испытания проводят на двух образцах.
(Измененная редакция, Изм. № 3, 5).
4.15. (Исключен, Изм, № 4).
4.16. Объемное электрическое сопротивление и электрическую прочность пленок при 15 - 35 и 180 °С определяют по ГОСТ 13526-79 а после воздействия воздуха с относительной влажностью 93 % при 23 °С в течение 24 ч по ГОСТ 10315-75, проводя измерение не позднее чем через 3 мин после удаления образцов из гигростата.
Образцы для испытания изготавливают по ГОСТ 13526-79 (метод нанесения лака на основание - двукратное окунание) и сушат по п. 4.7. Материал подложки и режим дополнительной сушки для электрических испытаний лаков различных марок указаны в табл. 5.
Допускается хранение образцов перед измерением до 24 ч в эксикаторе над сухим хлористым кальцием при температуре от 15 до 35 °С или в аналогичных условиях.
(Измененная редакция, Изм. № 3, 4, 5).
4.17. Определение оптической плотности
Метод измерения - фотоколориметрический, основан на определении оптической плотности кремнийорганических лаков при длине волны 400 нм по отношению к пустой кювете.
За результат анализа принимают среднее арифметическое результатов двух параллельных определений, допустимое расхождение между которыми не должно превышать: для лака КО-916, КО-918 - 0,01; для лака КО-916А - 0,018; для лака КО-926 - 0,021; для лака КО-945 - 0,02; для лака КО-921, КО-922 - 0,01 при доверительной вероятности Р = 0,95.
Таблица 5
| Марки лаков | Материал подложки | Температура дополнительной сушки, °С | Продолжительность дополнительной сушки, ч |
|
КО-916 КО-916А КО-921 КО-922 |
Сталь (ГОСТ 5582-75) толщиной 0,8 - 2,0 мм, или медь (ГОСТ 495-77) толщиной 0,5 - 1,0 мм | 200 ± 5 | 10 |
| КО-918 | Сталь (ГОСТ 5582-75) толщиной 0,8 - 2,0 мм | 130 ± 2 | 12 |
| КО-945 | 3 |
Доверительные границы суммарной погрешности результатов анализа (Δ) составляют: для лаков КО-916, КО-918 - ±0,04; для лака КО-916А - ±0,09; для лака КО-926 - ±0,03; для лака КО-921, КО-922 - ±0,02; для лака КО-945 - ±0,005 при Р = 0,95.
Результаты анализа округляют до числа, кратного 0,01.
4.17.1. Аппаратура и реактивы
Колориметр фотоэлектрический концентрационный КФК-2 с набором кювет со светофильтром № 3, обеспечивающим длину волны (400 ± 5) нм.
Толуол по ГОСТ 5789-78
Ацетон по ГОСТ 2603-79
Допускается использование колориметра другой марки с метрологическими характеристиками не хуже, чем у КФК-2.
4.17.2. Подготовка к испытанию
Настраивают фотоколориметр и работают на нем согласно инструкции к прибору. Кюветы промывают ацетоном после полного растворения остатков лака в толуоле.
4.17 - 4.17.2. (Измененная редакция, Изм. № 5).
4.17.2. Подготовка к испытанию
Кювету с длиной оптического слоя 10 мм (для лаков КО-916, КО-918, КО-916А), 30 мм (для лаков КО-921, КО-922) или 20 мм (для лаков КО-945, КО-926) наполняют до метки продуктом, помещают ее в кюветное отделение прибора и измеряют оптическую плотность по отношению к пустой кювете. Затем кювету освобождают от лака, промывают ацетоном и сушат.
(Введен дополнительно, Изм. № 5).
5. УПАКОВКА, МАРКИРОВКА, ТРАНСПОРТИРОВАНИЕ И ХРАНЕНИЕ
5.1. Упаковка, маркировка, транспортирование и хранение лака - по ГОСТ 99880.3-86. ГОСТ 9980.4-86. ГОСТ 9980.5-86
Упаковку лака проводят в соответствии с группой 2 ГОСТ 9980.3-86
Допускается по согласованию с потребителем упаковывать лаки в алюминиевые фляги, принадлежащие изготовителю, и стальные бочки по ГОСТ 6247-79 и ГОСТ13950-84 вместимостью 200 дм3.
По согласованию с потребителем допускается упаковывать лаки в тару вместимостью не более 50 дм3.
Металлические бидоны упаковывают в деревянные ящики типа У-1 (на два бидона) по ГОСТ 18573-86или дощатые ящики типа У-1 (на один бидон), изготовленные по ГОСТ 2991-85, НТД и чертежам, утвержденным в установленном порядке.
5.2. Транспортную маркировку проводят по ГОСТ 14192-77 с нанесением знака опасности по ГОСТ 19433-88, соответствующего классу 3, подклассу 3.3. Шифр группы опасности 3212. Серийный номер ООН 1263.
Требования к транспортированию лаков пакетами. Основные параметры и размеры пакетов должны соответствовать требованиям ГОСТ 24597-81 Средства пакетирования: поддоны плоские по ГОСТ 9078-84. ГОСТ 9557-87
Лаки должны храниться в таре изготовителя при температуре от 5 до 30 °С.
Разд. 5. (Измененная редакция, Изм. № 4, 5).
6. ГАРАНТИИ ИЗГОТОВИТЕЛЯ
6.1. Изготовитель гарантирует соответствие лаков требованиям настоящего стандарта при соблюдении условий транспортирования и хранения.
6.2. Гарантийный срок хранения лаков КО-916, КО-916А, КО-918, КО-926, КО-945 - шесть месяцев; лаков КО-921, КО-922 - один год со дня изготовления.
Разд. 6. (Измененная редакция, Изм. № 4).
ИНФОРМАЦИОННЫЕ ДАННЫЕ
1. РАЗРАБОТАН И ВНЕСЕН Министерством химической промышленности
РАЗРАБОТЧИКИ
А.Н. Поливанов, канд. техн. наук; В.В. Северный, д-р. хим. наук; И.И. Хазанов, канд. техн. наук;Г.И. Панфиленок, канд. техн. наук; М.М. Зубова; Л.С. Двойнова
2 УТВЕРЖДЕН И ВВЕДЕН В ДЕЙСТВИЕ Постановлением Государственного комитета стандартов Совета Министров СССР от 23.12.70 № 1799
3. СРОК ПЕРВОЙ ПРОВЕРКИ - 1996 г.
Периодичность проверки - 5 лет
4. ВВЕДЕН ВПЕРВЫЕ
5. ССЫЛОЧНЫЕ НОРМАТИВНО-ТЕХНИЧЕСКИЕ ДОКУМЕНТЫ
| Обозначение НТД, на который дана ссылка | Номер пункта, подпункта |
| ГОСТ 12.1.005-88 | 3а.2 |
| ГОСТ 12.3.005-75 | 3а.2 |
| ГОСТ 12.4.001-80 | 3а.4 |
| ГОСТ 32-74 | 4.11 |
| ГОСТ 434-78 | 4.7 |
| ГОСТ 618-73 | 4.10 |
| ГОСТ 1003-73 | 2.2 |
| ГОСТ 2603-79 | 14.17.1 |
| ГОСТ 2991-85 | 5.1 |
| ГОСТ 4233-77 | 4.8.1 |
| ГОСТ 4328-77 | 4.8.1 |
| ГОСТ 5233-89 | 4.13 |
| ГОСТ 5582-75 | 4.11, 4.16 |
| ГОСТ 5789-78 | 14.17.1 |
| ГОСТ 6806-73 | 4.10 |
| ГОСТ 6247-79 | 5.1 |
| ГОСТ 8832-76 | 4.13 |
| ГОСТ 8420-74 | 4.6 |
| ГОСТ 8865-87 | Вводная часть |
| ГОСТ 9078-84 | 5.2 |
| ГОСТ 9557-87 | 5.2 |
| ТОСТ 9980.1-86 | 3.1 |
| ГОСТ 9980.3-86 | 5.1 |
| ГОСТ 9980.4-86 | 5.1 |
| ГОСТ 9980.5-86 | 5.1 |
| ГОСТ 10315-75 | 4.16 |
| ГОСТ 13526-79 | 4.4, 4.7, 4.10, 4.11, 4.16 |
| ГОСТ 13950-91 | 5.1 |
| ГОСТ 14192-77 | 5.2 |
| ГОСТ 17537-72 | 4.5 |
| ГОСТ 18573-86 | 5.1 |
| ГОСТ 19266-79 | 4.3 |
| ГОСТ 19433-88 | 5.2 |
| ГОСТ 20841.1-75 | 4.2 |
| ГОСТ 24597-81 | 5.2 |
| ТУ 38.101169-88 | 5.1 |
6. СРОК ДЕЙСТВИЯ ПРОДЛЕН до 01.01.96 Постановлением Госстандарта от 30.03.90 № 768
7. ПЕРЕИЗДАНИЕ (март 1993 г.) с изменениями № 1, 2, 3, 4, 5, утвержденными в феврале 1973 г., июле 1975 г., ноябре 1976 г., марте 1985 г., марте 1990 г. (3-73, 8-75, 11-76, 6-85, 7-90)
