ГОСТ 6465-76
МЕЖГОСУДАРСТВЕННЫЙ СТАНДАРТ
ЭМАЛИ ПФ-115
ТЕХНИЧЕСКИЕ УСЛОВИЯ
ИПК ИЗДАТЕЛЬСТВО СТАНДАРТОВ
МЕЖГОСУДАРСТВЕННЫЙ СТАНДАРТ
|
ЭМАЛИ ПФ-115
Технические условия
Enamels ПФ-115.
Specifications |
ГОСТ
6465-76 |
Дата введения 01.07.77
Настоящий стандарт распространяется на эмали ПФ-115 различных цветов, представляющие собой суспензии двуокиси титана рутильной формы и других пигментов и наполнителей в пентафталевом лаке с добавлением сиккатива и растворителей.
Эмали ПФ-115 предназначаются для окраски металлических, деревянных и других поверхностей, подвергающихся атмосферным воздействиям и для окраски внутри помещений.
(Измененная редакция. Изм. № 5).
Покрытие, состоящее из двух слоев эмали ПФ-115, нанесенных на подготовленную загрунтованную поверхность, в умеренном и холодном климате сохраняет защитные свойства в течение четырех лет до балла не более АЗ1 и декоративные свойства в течение одного года до балла не более АД2 по ГОСТ 9.401-91.
(Измененная редакция. Изм. № 5).
В тропическом климате покрытие, состоящее из двух слоев эмали, нанесенных на подготовленную загрунтованную поверхность, сохраняет защитные и декоративные свойства в соответствии с ГОСТ 9.401-91.
(Измененная редакция. Изм. № 5).
Защитные и декоративные свойства оценивают по ГОСТ 9.407 (после обработки покрытия полировочным составом).
Пленка эмали устойчива к изменению температуры от минус 50 до плюс 60 °С.
Эмали ПФ-115 наносят на поверхность методами распыления, струйного облива, окунания и кистью.
(Измененная редакция, Изм. № 3, 4).
Обязательные требования, направленные на обеспечение безопасности эмали ПФ-115 для жизни, здоровья и имущества граждан, охрану окружающей среды, изложены в п. 1.4 (табл. 1, показатели 5, 14, 15, 16), пп. 4.1, 4.2.
(Измененная редакция. Изм. № 5).
1. ТЕХНИЧЕСКИЕ ТРЕБОВАНИЯ
1.1. Эмали ПФ-115 должны изготовляться в соответствии с требованиями настоящего стандарта по рецептуре и технологическому регламенту, утвержденным в установленном порядке.
1.2. Эмали ПФ-115 должны выпускаться следующих цветов, указанных в табл. 1а.
Таблица 1а
|
Наименование цвета
|
Код ОКП
|
|
|
Высший сорт
|
Первый сорт
|
|
|
Красный
|
-
|
23 1222 0406 01
|
|
Вишневый
|
-
|
23 1222 0424 10
|
|
Красно-оранжевый
|
23 1222 0557 09
|
23 1222 0457 01
|
|
Кремовый
|
23 1222 0514 09
|
23 1222 0414 01
|
|
Бледно-желтый
|
23 1222 0579 03
|
23 1222 0479 06
|
|
Светло-желтый
|
23 1222 0561 02
|
23 1222 0461 05
|
|
Желтый
|
23 1222 0504 00
|
23 1222 0404 03
|
|
Темно-зеленый
|
23 1222 0568 06
|
23 1222 0468 09
|
|
Зеленый
|
23 1222 0508 07
|
23 1222 0408 10
|
|
Фисташковый
|
23 1222 0543 04
|
23 1222 0443 07
|
|
Голубой 423
|
23 1222 0510 02
|
23 1222 0410 05
|
|
Синий
|
23 1222 0507 08
|
23 1222 0407 00
|
|
Голубой 451
|
23 1222 0571 00
|
23 1222 0471 03
|
|
Серо-голубой
|
23 1222 0555 00
|
23 1222 0455 03
|
|
Серый
|
23 1222 0539 00
|
23 1222 0439 03
|
|
Светло-серый
|
23 1222 0559 07
|
23 1222 0459 10
|
|
Коричневый
|
23 1222 0509 06
|
23 1222 0409 09
|
|
Светло-бежевый
|
23 1222 0596 02
|
23 1222 0496 05
|
|
Бежевый
|
23 1222 0517 06
|
23 1222 0417 09
|
|
Красно-коричневый
|
23 1222 0558 08
|
23 1222 0458 00
|
|
Темно-серый 894
|
23 1222 0503 01
|
23 1222 0403 04
|
|
Темно-серый 896
|
23 1222 0560 03
|
23 1222 0460 06
|
|
Белый
|
23 1222 0501 03
|
23 1222 0401 06
|
|
Черный
|
-
|
23 1222 0402 05
|
Соответствие изменившихся обозначений цветов эмали приведено в приложении 2.
(Измененная редакция, Изм. № 2, 3, 4).
1.2а. (Исключен, Изм. № 4).
1.3. Перед применением эмали разбавляют до рабочей вязкости по ГОСТ 1928 или ГОСТ 10214 , уайт-спиритом (нефрасом-С4-155/200) по ГОСТ 3134 , скипидаром по ГОСТ 1571 или их смесью в соотношении 1:1 по массе ксилолом по ГОСТ 9410-78 или ГОСТ 9949-76 .
(Измененная редакция. Изм. № 5).
Для окраски изделий в электрополе эмали разбавляют до рабочей вязкости разбавителем РЭ-4В или РЭ-ЗВ по ГОСТ 18187. Способ применения эмали ПФ-115, предназначенной для розничной торговли, приведен в приложении 1. Электрические характеристики эмали для нанесения распылением в электрополе приведены в приложении 3.
(Измененная редакция, Изм. № 2, 3, 4).
1.3а. (Исключен. Изм. № 5).
1.4. Эмали ПФ-115 должны соответствовать требованиям и нормам, указанным в табл. 1 .
Таблица 1
|
Наименование показателя
|
Норма для эмали
|
Метод испытания
|
|
|
высший сорт
|
первый сорт
|
||
|
1. Цвет покрытия эмали:
|
Должен находиться в пределах допускаемых отклонений, установленных образцами цвета «Картотеки» или контрольными образцами цвета, утвержденными в установленном порядке
|
По п. 3.3
|
|
|
красный
|
-
|
9, 11
|
|
|
вишневый
|
-
|
25, 28
|
|
|
красно-оранжевый
|
132, 133
|
132, 133
|
|
|
кремовый
|
200, 201
|
200, 201
|
|
|
бледно-желтый
|
207, 213
|
207, 213
|
|
|
светло-желтый
|
211, 212
|
211, 212
|
|
|
желтый
|
230, 231
|
230, 231
|
|
|
темно-зеленый
|
311, 312
|
311, 312
|
|
|
зеленый
|
343, 344
|
343, 344
|
|
|
фисташковый
|
388, 389
|
388, 389
|
|
|
голубой 423
|
423, 424
|
423, 424
|
|
|
синий
|
427, 428
|
427, 428
|
|
|
голубой 451
|
451, 452
|
451, 452
|
|
|
серо-голубой
|
491, 492
|
491, 492
|
|
|
серый
|
522, 536
|
522, 536
|
|
|
светло-серый
|
583, 584
|
583, 584
|
|
|
коричневый
|
619, 622
|
619, 622
|
|
|
светло-бежевый
|
620, 621
|
620, 621
|
|
|
бежевый
|
629, 630
|
629, 630
|
|
|
красно-коричневый
|
632, 633
|
632, 633
|
|
|
темно-серый 894
|
894, 895
|
894, 895
|
|
|
темно-серый 896
|
896, 897
|
896, 897
|
|
|
белый
|
Контрольные образцы цвета
|
||
|
черный
|
-
|
Контрольные образцы цвета
|
|
|
2. Внешний вид покрытия
|
После высыхания эмаль должна образовывать гладкую, однородную без расслаивания, оспин, потеков, морщин и посторонних включений поверхность. Допускается небольшая шагрень.
|
По п. 3.4
|
|
|
3. Блеск покрытия по фотоэлектрическому блескомеру, %, не менее
|
По ГОСТ 896
|
||
|
красной, вишневой, черной
|
-
|
50
|
|
|
остальных цветов
|
60
|
50
|
|
|
4. по вискозиметру типа ВЗ-246 (с диаметром сопла 4 мм при температуре (20 ± 0,5) °С), с красной, вишневой, черной
|
-
|
60-100
|
По ГОСТ 8420 и п. 3.4 а настоящего стандарта
|
|
остальных цветов
|
80-120
|
80-120
|
|
|
5. Массовая доля нелетучих веществ, %, для эмалей:
|
По ГОСТ 17537 и п. 3.4б настоящего стандарта
|
||
|
белой, светло-желтой
|
62-68
|
62-68
|
|
|
кремовой, бежевой, светло-бежевой, голубой 451, голубой 423, фисташковой, темно-серой 894, темно-серой 896, серо-голубой, серой
|
60-66
|
60-66
|
|
|
бледно-желтой, зеленой, темно-зеленой, красно-коричневой, желтой, красно-оранжевой
|
64-70
|
64-70
|
|
|
синей, светло-серой, коричневой
|
57-63
|
57-63
|
|
|
черной
|
-
|
49-55
|
|
|
красной, вишневой
|
-
|
52-58
|
|
|
6. Степень разбавления до вязкости 28-30 с по вискозиметру типа ВЗ-246 (с диаметром сопла 4 мм при температуре (20 ± 0,5) °С), %, не более
|
20
|
20
|
По п. 3.5
|
|
7. Степень перетира, мкм, не более
|
По ГОСТ 6589
|
||
|
белой
|
10
|
25
|
|
|
красной, вишневой, черной
|
-
|
25
|
|
|
остальных цветов
|
15
|
25
|
|
|
8. Укрывистость высушенной пленки, г/м2, не более, для эмалей:
|
По ГОСТ 8784 , разд. 1 и п. 3.6 настоящего стандарта
|
||
|
белой
|
60
|
100
|
|
|
бледно-желтой
|
95
|
100
|
|
|
светло-желтой
|
90
|
100
|
|
|
кремовой, красно-оранжевой
|
85
|
90
|
|
|
бежевой
|
50
|
55
|
|
|
светло-бежевой, фисташковой, серой, зеленой, голубой 423
|
55
|
60
|
|
|
желтой, голубой 451
|
65
|
70
|
|
|
серо-голубой
|
50
|
60
|
|
|
темно-серой 896, красно-коричневой, синей
|
35
|
40
|
|
|
темно-серой 894
|
40
|
55
|
|
|
коричневой
|
40
|
40
|
|
|
темно-зеленой
|
55
|
65
|
|
|
красной
|
-
|
120
|
|
|
вишневой
|
-
|
100
|
|
|
черной
|
-
|
30
|
|
|
светло-серой
|
80
|
90
|
|
|
9. Время высыхания до степени 3 при температуре (20 ± 2) °С, ч, не более, для эмалей цветов:
|
По ГОСТ 19007-73
|
||
|
красной, вишневой
|
-
|
48
|
|
|
черной
|
-
|
24
|
|
|
остальных цветов
|
24
|
24
|
|
|
10. Эластичность пленки при изгибе, мм, не более
|
1
|
1
|
ГОСТ 6806
|
|
11. Прочность пленки при ударе по прибору типа У-1, см, не менее:
|
ГОСТ 4765
|
||
|
красной, вишневой, черной
|
-
|
40
|
|
|
остальных цветов
|
50
|
40
|
|
|
12. Твердость покрытия по маятниковому прибору, не менее:
|
По ГОСТ 5233-89
|
||
|
типа ТМЛ (маятник А), относительные единицы, для эмалей цветов:
|
|||
|
красной, вишневой
|
-
|
0,10
|
|
|
черной
|
-
|
0,10
|
|
|
белой
|
0,10
|
0,10
|
|
|
остальных цветов или типа М-3, условные единицы, для эмалей цветов:
|
0,10
|
0,10
|
По п. 3.66 настоящего стандарта
|
|
красной, вишневой
|
-
|
0,15
|
|
|
черной
|
-
|
0,20
|
|
|
белой
|
0,35
|
0,25
|
|
|
остальных цветов
|
0,30
|
0,25
|
|
|
13. Адгезия пленки, баллы, не более
|
1
|
1
|
разд. 2 и п. 3.6 а настоящего стандарта
|
|
14. Стойкость покрытия при температуре (20 ± 2) °С к статическому воздействию воды, ч, не менее, для эмалей
|
ГОСТ 9.403 , разд. 2 и п. 3.7 настоящего стандарта
|
||
|
красной, вишневой, черной
|
-
|
2
|
|
|
остальных цветов
|
10
|
2
|
|
|
15. Стойкость покрытия к статическому воздействию 0,5 %-ного раствора моющего средства, мин, не менее
|
15
|
15
|
ГОСТ 9.403 , разд. 2 и п. 3.8 настоящего стандарта
|
|
16. Стойкость покрытия при температуре (20 ± 2) °С к статическому воздействию трансформаторного масла, ч, не менее
|
24
|
24
|
ГОСТ 9.403 , разд. 2 и п. 3.10 настоящего стандарта
|
(Измененная редакция. Изм. № 5).
Примечания:
1. При применении эмалей допускается горячая сушка покрытия при 105-110 °С в течение 1 ч.
2. По требованию потребителя для промышленного применения изготавливают эмали других цветов по контрольным образцам цвета.
3, 4 (Исключены. Изм. № 5).
2. ПРАВИЛА ПРИЕМКИ
2.1. Правила приемки - по ГОСТ 9980.1 .
2.2. Приемосдаточные испытания проводят по показателям 1-5, 7-9, 12 табл. 1.
При получении неудовлетворительных результатов приемосдаточных испытаний хотя бы по одному из показателей проводят повторные испытания на удвоенной выборке, взятой от той же партии.
Результаты испытаний распространяются на всю партию.
Нормы по показателям 6, 13, 14, 15 и 16 табл. 1 определяют не реже одного раза в год с календарной даты начала выпуска эмали.
Нормы по показателям 10 и 11 табл. 1 определяют в каждой тридцатой партии.
При получении неудовлетворительных результатов периодических испытаний проверяют каждую партию до получения удовлетворительных результатов подряд не менее чем на трех партиях.
При получении повторного отрицательного результата периодические испытания переводят в приемосдаточные до получения удовлетворительных результатов.
(Измененная редакция. Изм. № 5).
2.1, 2.2. (Измененная редакция, Изм. № 4).
3. МЕТОДЫ ИСПЫТАНИЙ
3.1. Отбор проб - по ГОСТ 9980.2 .
3.2. Подготовка образцов к испытанию
Подготовку пластинок для нанесения эмали проводят по ГОСТ 8832, разд. 3.
Время высыхания пленки определяют на пластинках из черной жести по ГОСТ 13345-85 размером 70 ´ 150 мм и толщиной 0,25-0,32 мм или стали марок 08 кп и 08 пс размером 70 ´ 150 мм и толщиной 0,7-1,0 мм по ГОСТ 16523-97.
(Измененная редакция. Изм. № 5).
Эластичность пленки при изгибе определяют на пластинках из черной жести по ГОСТ 13345-85размером 20 ´ 150 мм и толщиной 0,25-0,32 мм.
(Измененная редакция. Изм. № 5).
Твердость и блеск покрытия определяют на стеклянных пластинках размером 90 ´ 120 мм, толщиной от 1,2 до 1,8 мм.
(Измененная редакция. Изм. № 5).
Остальные показатели определяют на пластинках из стали марок 08 кп и 08 пс размером 70 ´ 150 мм и толщиной 0,7-1,0 мм по ГОСТ 16523-97.
(Измененная редакция. Изм. № 5).
Условную вязкость, массовую долю нелетучих веществ и степень перетира определяют в неразбавленной эмали.
При определении цвета, внешнего вида, блеска покрытия, времени высыхания, эластичности пленки при изгибе, прочности покрытия при ударе, твердости, стойкости покрытия к статическому воздействию воды, раствора моющего средства и трансформаторного масла, адгезии пленки испытуемую эмаль разбавляют смесью сольвента и уайт-спирита (нефраса С4-155/200) 1:1, сольвентом или ксилолом до условной вязкости 28-30 с по вискозиметру ВЗ-246 с диаметром сопла 4 мм при температуре (20,0 ± 0,5) °С, фильтруют через сетку № 01Н-02Н по ГОСТ 6613-86 и наносят на подготовленные пластинки краскораспылителем в один слой (кроме определения цвета). При определении цвета эмаль наносят до полного укрытия окрашиваемой поверхности.
(Измененная редакция. Изм. № 5).
Сушку пленки эмали вишневой и красной проводят при температуре (20 ± 2) °С в течение 48 ч, остальных цветов - в течение 24 ч (кроме определения твердости покрытия эмалей ПФ-115).
(Измененная редакция. Изм. № 5).
При определении твердости покрытия эмалей ПФ-115 сушку проводят при температуре (20 ± 2) ° С в течение 48 ч.
Для определения стойкости покрытия к статическому воздействию воды, раствора моющего средства и трансформаторного масла эмаль наносят на обе стороны пластинки.
Толщина покрытия после высыхания для черной, красной и вишневой эмалей должна быть 13-18 мкм, для остальных эмалей - 18-23 мкм.
(Измененная редакция, Изм. № 1, 3, 4).
3.3. Цвет покрытия эмали определяют визуально по ГОСТ 29319-92 .
При разногласиях в оценке цвета за окончательный результат принимают определение цвета при естественном дневном свете.
(Измененная редакция, Изм. № 4, 5).
3.4. Внешний вид покрытия эмали определяют визуально при естественном рассеянном свете.
(Измененная редакция, Изм. № 4, 5).
3.4а. (Исключен. Изм. № 5).
3.5. Определение степени разбавления эмали
3.5.1. Проведение испытания
120-130 г испытуемой эмали взвешивают, записывая результат взвешивания с точностью до второго десятичного знака, разбавляют смесью растворителей сольвента и уайт-спирита (ксилолом или сольвентом до рабочей вязкости 28-30 с по вискозиметру типа ВЗ-246 с диаметром сопла 4 мм при температуре (20,0 ± 0,5) ° С) 1:1 до рабочей вязкости 28-30 с по вискозиметру типа ВЗ-246 (или ВЗ-4) с диаметром сопла 4 мм.
(Измененная редакция, Изм. № 4, 5).
3.5.2. Обработка результатов
Степень разбавления ( X ) в процентах вычисляют по формуле
где m 1 - масса растворителя, израсходованная для разбавления эмали, г;
т - масса эмали, г.
3.6. Укрывистость определяют по ГОСТ 8784-75 при вязкости эмали 20-22 с при температуре (20,0 ± 0,5) °С по вискозиметру ВЗ-246 с диаметром сопла 4 мм.
Эмаль наносят краскораспылителем. Время сушки до степени 3 - в соответствии с табл. 1.
(Измененная редакция, Изм. № 3, 4, 5).
3.6а. Перед определением адгезии образцы выдерживают при температуре (20 ± 2) °С и относительной влажности воздуха (65 ± 5) % в течение 3 ч.
(Введен дополнительно, Изм. № 4).
3.6б. Определение твердости покрытия
3.6б.1. Твердость покрытия эмали определяют по ГОСТ 5233-89, разд. 1.
3.6б.2. Определение твердости покрытия по маятниковому прибору типа М-3.

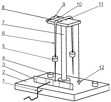
1 - пусковой механизм; 2 - основание; 3 - шкала; 4 - установочные ; 5 - груз; 6 - двустрелочный механизм; 7 - штатив; 8 - соединительная планка; 9 - рамка; 10 - столик; 11 - стальные шарики; 12 - отвес
3.6б.2.1. Аппаратура и материалы
Маятниковый прибор типа М-3 для определения твердости при комнатной температуре (20 ± 2) ° С (чертеж).
Основные характеристики маятникового прибора:
масса маятника (120 + 1) г;
длина маятника, считая от точки опоры до конца стрелки, (500 ± 1) мм;
диаметр стального шарика (точки опоры) 7,938 мм по ГОСТ 3722-81;
шкала прибора, разделенная на градусы;
угол отклонения от 5 до 2°;
время затухания колебаний на стеклянной пластинке («стеклянное число») (440 ± 6) с.
Стеклянные пластинки размером 90 ´ 120 мм, толщиной от 1,2 до 1,8 мм.
Секундомер.
Растворители: эфир этиловый по ГОСТ 8981-78 или ацетон технический по ГОСТ 2768-84.
3.6б.2.2. Подготовка к испытанию
Перед каждым испытанием шарики маятника и стеклянную пластинку прибора тщательно протирают ватой, смоченной растворителем, а затем сухой чистой марлей.
На пластинки, подготовленные по ГОСТ 8832-76, наносят испытуемую эмаль (п. 3.2).
3.6б.2.3. Проведение испытания
Маятниковый прибор проверяют по «стеклянному числу» - времени затухания колебаний маятника, точки опоры которого лежат на стеклянной пластинке прибора.
Определение «стеклянного числа» проводят при температуре (20 ± 2) °С и относительной влажности воздуха (65 ± 5) %.
Измерения проводят не менее чем на трех участках поверхности стеклянной пластинки.
Таким же образом определяют время затухания колебаний маятника на стеклянной пластинке с испытуемым покрытием эмали.
3.6б.2.4. Обработка результатов
Твердость (Н), условные единицы, вычисляют по формуле
где t - время затухания колебаний маятника на испытуемом покрытии эмали, с;
t 1 - время затухания колебаний маятника на стеклянной пластинке прибора («стеклянное число»), с.
За результат испытания принимают среднее арифметическое полученных результатов измерения времени затухания колебаний маятника на стеклянной пластинке и на испытуемом образце покрытия эмали.
Отклонения значений единичных измерений от среднего арифметического не должно быть более 3 %.
При разногласиях показатель «твердость покрытия» определяют по ГОСТ 5233-89, по маятниковому прибору типа ТМЛ (маятник А).
3.6б.2.5. Погрешность метода
Погрешность метода при определении твердости на приборе М-3 составляет ±0,02 условной единицы.
(Измененная редакция. Изм. № 5).
3.7. Для определения стойкости покрытия к статическому воздействию воды окрашенные и высушенные образцы выдерживают на воздухе перед испытанием в течение 5 сут, затем образцы помещают на 2/3 высоты в дистиллированную воду ( ГОСТ6709 ) и выдерживают в течение времени, указанного в п. 14 табл. 1 .
После испытания образцы выдерживают на воздухе при температуре (20 ± 2) °С в течение 1 ч и осматривают внешний вид покрытия.
По внешнему виду покрытие эмали должно быть без изменений. Допускается незначительное изменение цвета покрытия.
(Измененная редакция. Изм. № 3, 4, 5).
3.8. Для определения стойкости покрытия к статическому воздействию раствора моющего средства окрашенные и высушенные образцы выдерживают на воздухе перед испытанием в течение 2 ч, затем образцы помещают на 2/3 высоты в 0,5 %-ный раствор средства моющего синтетического порошкообразного по ГОСТ 25644-96 , имеющего температуру 30-40 ° С, и выдерживают в растворе при заданной температуре в течение 15 мин.
(Измененная редакция. Изм. № 3, 4, 5).
После испытания образцы выдерживают на воздухе при температуре (20 ± 2) °С в течение 1 ч и осматривают внешний вид покрытия.
По внешнему виду покрытие эмали должно быть без изменений.
3.9. (Исключен. Изм. № 5).
3.10. Для определения стойкости покрытия к статическому воздействию трансформаторного масла окрашенные и высушенные образцы выдерживают на воздухе перед испытанием в течение 5 сут, затем образцы помещают на 2/3 высоты в трансформаторное масло ( ГОСТ 982 ) при температуре (20 ± 2) ° С и выдерживают в масле в течение времени, указанного в п. 16 табл. 1 .
После испытания образцы выдерживают на воздухе при температуре (20 ± 2) ° С в течение 2 ч и осматривают внешний вид и цвет покрытия. Допускается незначительное изменение цвета покрытия.
(Введен дополнительно, Изм. № 4).
4. УПАКОВКА, МАРКИРОВКА, ТРАНСПОРТИРОВАНИЕ И ХРАНЕНИЕ
4.1. Упаковка эмалей - по ГОСТ 9980.3 .
4.2. Маркировка эмалей - по ГОСТ 9980.4 .
На транспортную тару должны быть нанесены: знак опасности по ГОСТ 19433-88 (класс 3), классификационный шифр 3313, номер ООН 1263.
(Измененная редакция. Изм. № 5).
4.3. Транспортирование и хранение - по ГОСТ 9980.5 .
При хранении условная вязкость эмалей увеличивается от нормы по табл. 1. При разбавлении эмалей растворителем в количестве не более 10 % (от массы эмали) до нормы по показателю «вязкость» эмали должны соответствовать требованиям настоящего стандарта.
Разд. 4. (Измененная редакция, Изм. № 4, 5).
5. ГАРАНТИИ ИЗГОТОВИТЕЛЯ
5.1. Изготовитель гарантирует соответствие эмалей требованиям настоящего стандарта при соблюдении условий хранения и транспортирования.
5.2. Гарантийный срок хранения эмалей ПФ-115 различных цветов - 12 месяцев со дня изготовления.
5.1, 5.2. (Измененная редакция, Изм. № 3).
6. ТРЕБОВАНИЯ БЕЗОПАСНОСТИ
6.1. Эмали ПФ-115 различных цветов являются пожароопасными и токсичными материалами, что обусловлено свойствами компонентов, входящих в их состав.
Предельно допустимые концентрации, классы опасности компонентов по ГОСТ 12.1.005-88 и характеристики пожароопасности по ГОСТ 12.1.044-89 приведены в табл. 2.
Таблица 2
|
Наименование компонента
|
Предельно допустимая концентрация паров в воздухе рабочей зоны производственных помещений, мг/м3
|
Класс опасности
|
Температура, С
|
Концентрационные пределы воспламенения, % (по объему)
|
||
|
вспышки
|
самовоспламенения
|
нижний
|
верхний
|
|||
|
Ксилол
|
50
|
3
|
Не ниже 23
|
Выше 450
|
1,0
|
6.0
|
|
Скипидар
|
300
|
4
|
34
|
300
|
0,8
|
6.9
|
|
Уайт-спирит
|
300
|
4
|
Не ниже 33
|
270
|
1,4
|
6.0
|
|
Сольвент
|
50
|
3
|
22-36
|
464-535
|
1,02*
|
-
|
|
Соединения свинца
|
0,01/0,005
|
1
|
-
|
-
|
-
|
-
|
|
Соединения хрома
|
0,01
|
1
|
-
|
-
|
-
|
-
|
* Нижний предел воспламенения при температуре 25 °С и давлении 101325 Па (760 мм рт. ст.).
6.2. Возможные пути поступления вредных веществ в организм человека - ингаляционный и через кожные покровы.
Пары растворителей оказывают раздражающее действие на слизистые оболочки глаз, верхних дыхательных путей и кожу.
Соединения свинца, являясь чрезвычайно опасными, вызывают хроническую интоксикацию, выражающуюся в поражении центральной нервной и сердечно-сосудистой систем, в изменениях крови, желудочно-кишечного тракта и других органов.
Соединения хрома раздражают и прижигают слизистую оболочку и кожу, вызывая изъязвления; при вдыхании аэрозолей происходит прободение хрящевой части носовой перегородки. Они оказывают также общетоксическое действие, поражая желудочно-кишечный тракт.
6.3. Производство эмалей должно соответствовать правилам безопасности лакокрасочных производств, утвержденным в установленном порядке.
6.4. Производство, испытания и применение эмалей должны соответствовать требованиям ГОСТ 12.3.005-75 и ГОСТ 12.1.004-91 .
6.5. Лица, связанные с изготовлением и применением эмалей, должны быть обеспечены специальной одеждой по ГОСТ 12.4.103-83 по ГОСТ 12.4.011-89, ГОСТ 12.4.068-79.
Индивидуальные средства защиты органов дыхания - по ГОСТ 12.4.028-76, ГОСТ 12.4.004-74 и ГОСТ 17269-71.
6.6. Работы, связанные с изготовлением и применением эмалей, проводят в помещениях, снабженных местной и общей приточно-вытяжной вентиляцией по ГОСТ 12.4.021-75 , обеспечивающей состояние воздушной среды в соответствии с ГОСТ 12.1.005-88 .
Средства тушения пожара - песок, кошма, огнетушители пенные ОХП-10, углекислотные ОУ-2 и ОУ-5, пенные установки, тонкораспыленная вода - по ГОСТ 12.4.009-83.
6.7. Для охраны атмосферного воздуха от загрязнений должны быть предусмотрены очистка воздуха на газоочистных установках и контроль за соблюдением предельно допустимых выбросов (ПДВ) по ГОСТ 17.2.3.02-78.
6.8. Отходы, образующиеся при очистке оборудования, утилизируют в соответствии с порядком накопления, транспортирования, обезвреживания и захоронения токсичных промышленных отходов.
(Измененная редакция. Изм. № 5).
ПРИЛОЖЕНИЕ 1
Рекомендуемое
Рекомендуемое
СПОСОБ ПРИМЕНЕНИЯ ЭМАЛИ ПФ-115, ПРЕДНАЗНАЧЕННОЙ ДЛЯ РОЗНИЧНОЙ ТОРГОВЛИ
(Измененная редакция. Изм. № 5).
Эмаль ГТФ-115 предназначается для окраски металлических, деревянных и других поверхностей, подвергающихся атмосферным воздействиям, и для окраски внутри помещений.
Перед применением эмаль тщательно перемешивают, при необходимости разбавляют сольвентом, уайт-спиритом (нефрасом С4-155/200), скипидаром или их смесью 1:1.
(Измененная редакция. Изм. № 5).
Эмаль ПФ-115 наносят методом распыления или кистью на сухую, предварительно очищенную от пыли, жировых и других загрязнений, ржавчины, окалины поверхность.
Время высыхания каждого слоя эмали при температуре (20 ± 2) °С - 24 ч.
Расход эмали на однослойное покрытие в зависимости от цвета 100-180 г/м2.
Эмаль хранят в плотно закрытой таре, предохраняя от влаги и прямых солнечных лучей.
Меры предосторожности: при проведении окрасочных работ, а также после их окончания необходимо тщательно проветривать помещение.
Беречь от огня.
(Измененная редакция, Изм. № 4).
ПРИЛОЖЕНИЕ 2
Справочное
Справочное
ТАБЛИЦА СООТВЕТСТВИЯ ИЗМЕНИВШИХСЯ ОБОЗНАЧЕНИЙ ЦВЕТОВ ЭМАЛИ ПФ-115 И НОМЕРОВ КАРТОТЕКИ ЦВЕТОВЫХ ЭТАЛОНОВ
|
ГОСТ 6465-76 с изменениями № 1, 2, 3, 4, 5
|
ГОСТ 6465 с изменениями № 1, 2, 3
|
||
|
Цвет
|
Номер образца (эталона) цвета картотеки
|
Цвет
|
Номер образца цвета картотеки
|
|
Вишневый
|
25, 28
|
Вишневый
|
28, по утвержденному образцу
|
(Измененная редакция, Изм. № 4, 5).
ПРИЛОЖЕНИЕ 3
Справочное
Справочное
Электрические характеристики эмали ПФ-115 для нанесения распылением в электрополе при рабочей вязкости 20-25 с по вискозиметру ВЗ-246 с диаметром сопла 4 мм при температуре (20 ± 0,5) °С
|
Наименование показателя
|
Норма
|
|
1. Удельное объемное электрическое сопротивление, Ом ×м
|
5 ´ 104 - 1 ´ 104
|
|
2. Диэлектрическая проницаемость
|
6-11
|
(Измененная редакция. Изм. № 5).
ИНФОРМАЦИОННЫЕ ДАННЫЕ
1. РАЗРАБОТАН И ВНЕСЕН Министерством химической промышленности СССР
2. УТВЕРЖДЕН И ВВЕДЕН В ДЕЙСТВИЕ Постановлением Государственного комитета СССР по стандартам
3. ПЕРИОДИЧНОСТЬ ПРОВЕРКИ - 5 лет
4. ВЗАМЕН ГОСТ 6465-63 и ГОСТ 5.820-71
5. ССЫЛОЧНЫЕ НОРМАТИВНО-ТЕХНИЧЕСКИЕ ДОКУМЕНТЫ
|
Обозначение НТД, на который дана ссылка
|
Номер пункта, подпункта
|
Обозначение НТД, на который дана ссылка
|
Номер пункта, подпункта
|
|
ГОСТ 9.401-91
|
Вводная часть
|
ГОСТ 8420-74
|
1.4
|
|
ГОСТ 9.403-80
|
1.4
|
ГОСТ 8784-75
|
1.4, 3.6
|
|
ГОСТ 9.407-84
|
Вводная часть
|
ГОСТ 8832-76
|
3.2
|
|
ГОСТ 12.3.005-75
|
6.2
|
ГОСТ 9980.1-86
|
2.1
|
|
ГОСТ 12.4.011-89
|
6.4
|
ГОСТ 9980.2-86
|
3.1
|
|
ГОСТ 17.2.3.02-78
|
6.6
|
ГОСТ 9980.3-86
|
4.1
|
|
ГОСТ 896-69
|
1.4
|
ГОСТ 9980.4-86
|
4.2
|
|
ГОСТ 982-80
|
3.10
|
ГОСТ 9980.5-86
|
4.3
|
|
ГОСТ 1571-82
|
1.3
|
ГОСТ 10054-82
|
3.9
|
|
ГОСТ 1928-79
|
1.3
|
ГОСТ 10214-78
|
1.3
|
|
ГОСТ 3134-78
|
1.3
|
ГОСТ 15140-78
|
1.4
|
|
ГОСТ 4765-73
|
1.4
|
ГОСТ 16523-97
|
3.2
|
|
ГОСТ 5233-89
|
1.4
|
ГОСТ 17537-72
|
1.4, 3.4б
|
|
ГОСТ 6589-74
|
1.4
|
ГОСТ 18187-72
|
1.3
|
|
ГОСТ 6613-86
|
3.2
|
ГОСТ 19007-73
|
1.4
|
|
ГОСТ 6709-72
|
3.7
|
ГОСТ 19433-88
|
4.2
|
|
ГОСТ 6806-73
|
1.4
|
ГОСТ 25644-96
|
3.8
|
6. Ограничение срока действия снято по протоколу № 5-94 Межгосударственного Совета по стандартизации, метрологии и сертификации (ИУС 11-12-94)
7. ИЗДАНИЕ (июль 2001 г.) с Изменениями № 1, 2, 3, 4, утвержденными в январе 1979 г., июне 1980 г., июне 1985 г., апреле 1988 г. (ИУС 3-79, 8-80, 10-85, 7-88)
СОДЕРЖАНИЕ
|
2. ПРАВИЛА ПРИЕМКИ
3. МЕТОДЫ ИСПЫТАНИЙ
4. УПАКОВКА, МАРКИРОВКА, ТРАНСПОРТИРОВАНИЕ И ХРАНЕНИЕ
5. ГАРАНТИИ ИЗГОТОВИТЕЛЯ
6. ТРЕБОВАНИЯ БЕЗОПАСНОСТИ
ПРИЛОЖЕНИЕ 1 Рекомендуемое
СПОСОБ ПРИМЕНЕНИЯ ЭМАЛИ ПФ-115, ПРЕДНАЗНАЧЕННОЙ ДЛЯ РОЗНИЧНОЙ ТОРГОВЛИ
ПРИЛОЖЕНИЕ 2 Справочное
ТАБЛИЦА СООТВЕТСТВИЯ ИЗМЕНИВШИХСЯ ОБОЗНАЧЕНИЙ ЦВЕТОВ ЭМАЛИ ПФ-115 И НОМЕРОВ КАРТОТЕКИ ЦВЕТОВЫХ ЭТАЛОНОВ
ПРИЛОЖЕНИЕ 3 Справочное
Электрические характеристики эмали ПФ-115 для нанесения распылением в электрополе при рабочей вязкости 20-25 с по вискозиметру ВЗ-246 с диаметром сопла 4 мм при температуре (20 ± 0,5) °С
|
